10 m Scherenarbeitsbühne
Artikel-Nr.:
00A15
10 m Scherenarbeitsbühne
- Die Elektro-Scherenarbeitsbühne ist fahrbar in voller Höhe
- Ausschwenkbare Seitenkästen vereinfachen Ihnen den Zugang zu der Arbeitsbühne
- Für Einsätze in mittleren Höhen im Innenbereich
- Geringe Wenderadien und große Traglasten ermöglichen universelle Arbeiten an Objekten
- Mit PKW-Anhänger transportierbar
- Schlaglochschutz
- Einstufige Notfallabsenkung
- Stoßresistentes Steuerpult mit integrierter Abdeckung und Kabelverlängerung
Technische Daten "10 m Scherenarbeitsbühne"
| Abklappbares Geländer: | Ja |
|---|---|
| Eigengewicht: | 2170 kg |
| Gerätemaße (L x B x H in m): | 2,30 x 1,20 x 1,79 |
| Personenzahl max.: | 3 |
| Plattformgröße (L x B x H in m): | 2,13 x 1,07 x 1,23 |
| Plattformhöhe: | 8 m |
| Plattformverlängerung: | 1,22 m |
| Tragkraft: | 454 kg |
| Tragkraft der Verlängerung: | 136 kg |
| Treibstoff/Antrieb: | Akku |
| Arbeitshöhe: | 9,75 m |


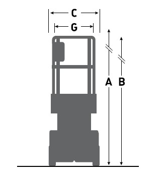
Legende
- Arbeitshöhe (A) = 10 m
- Plattformhöhe (ausgefahren) (B) = 8 m
- Plattformhöhe (eingefahren) (C) = 1,14 m
- Gesamtbreite (D) = 1,17 m
- Gesamtlänge (E) = 2,31 m
- Gesamthöhe (eingefahren, Geländer hochgeklappt) (F) = 2,15 m
- Gesamthöhe (eingefahren, Geländer zusammengeklappt) (G) = 1,79 m
- Plattformbreite (Innenmaß) (H) = 1,07 m
- Plattformlänge (Innenmaß) (I) = 2,13 m"